PP&D Full Patent Portfolio
Protected by US Patent: 9889961:
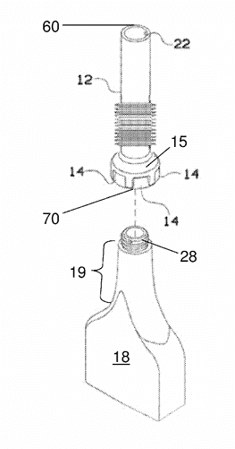
Fuel additive bottle for use with capless fuel system
Protected by US Patent: 11,104,470:
Fuel additive bottle for use with capless diesel fuel system
Protected by US Patent: 11,718,438 B1-
Fuel Additive Bottle for use with Capless Diesel Fuel System
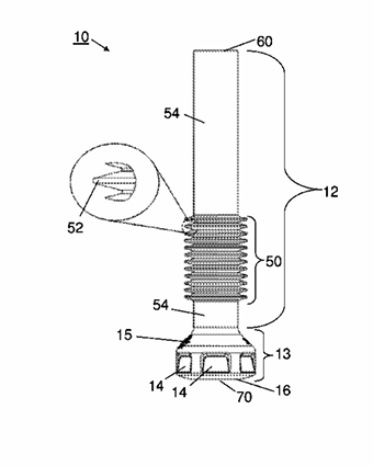
Protected by US Patent 20160115010A1
CIRCUMFERENTIALLY ADJUSTABLE DEVICE FOR TRANSFERRING FUEL ADDITIVES FROM CONTAINERS INTO CAPLESS FUEL SYSTEMS
Protected by US Patent 9434601 B2







